STYRESTRØMKRETSEN.
| 
   
  | 
  
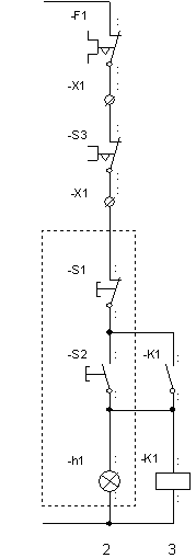
   Styrestrømmen koples normalt opp med nullspenningsutløsning. Det innebærer at man benytter
  impulsbrytere til stoppknapp (S1) og til startknapp (S2). I tillegg inneholder
  kretsen en holdekontakt som hentes fra kontaktoren. Alle bryterne i skjemaet
  tegnes alltid slik som disse ligger når de ikke er aktivert.  De forskjellige komponentene på tegningen:  | 
 |
| 
   F1 = S3 = S1 = S2 = K1 = h1 =  | 
  
   Motorvernets arbeidskontakt. Nødstoppbryter Stoppknapp Startknapp Kontaktor Signal - lampe (viser
  drift.)  | 
 |
| 
   Det er vanlig at bryterne og eventuelle signallamper blir
  plassert i en egen boks som befinner seg utenfor selve tavlefeltet. Mellom tavlefeltet
  og boksen legges det opp en kabel. Det benyttes en rekkeklemme for hver av
  ledningene der denne kabelen går ut fra tavla. Følger man den stiplede linja
  på denne tegningen ser man at det er behov for fire ledninger i kabelen
  mellom tavlefeltet og boksen.  | 
 ||