| 
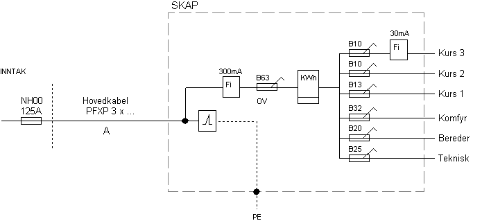
   Fordelingsskjema  | 
 |||
| 
   Strømføringsevne:  | 
  
   | 
 ||
| 
   | 
  
   
  | 
 ||
| 
   | 
  |||
| 
   | 
  |||
| 
   | 
  |||
| 
   | 
  
   | 
 ||
| 
   | 
  
   | 
 ||
| 
   | 
  
   | 
 ||
| 
   | 
  
   | 
 ||
| 
   | 
  
   | 
 ||
| 
   | 
  
   | 
 ||
| 
   | 
  
   | 
 ||
| 
   | 
  
   | 
 ||
| 
   | 
  
   | 
 ||
| 
   | 
  
   | 
 ||
| 
   | 
  
   | 
 ||
| 
   | 
  
   | 
 ||
| 
   | 
  
   | 
 ||
| 
   | 
  
   | 
 ||
| 
   | 
  
   | 
 ||
| 
   | 
  
   | 
 ||
| 
   | 
  
   | 
 ||
| 
   | 
  
   | 
  
   | 
 |
| 
   Fra dette sikringsskapet er det 6 utgående kurser. Bruk tabellen i NEK 400, og finn de ledningstverrsnittene som du må trekke inn for kusene når disse skal trekkes inn i rør i isolert vegger. Hovedkabelen skal installeres åpent på vegg. Denne må dimensjoneres slik at den tåler den strømmen som overbelastningsvernet (OV) kan slippe gjennom. ( Diskuter tegningen med læreren din.)  | 
 |||
| 
   | 
  
   | 
  
   | 
 |
| 
   | 
  
   | 
  ||
| 
   | 
  
   | 
  
   | 
 |
| 
   | 
  
   | 
  
   | 
 |
| 
   | 
  
   | 
  
   | 
 |
| 
   | 
  
   | 
  
   | 
 |